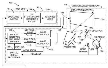
Selon plusieurs sources d’informations, Apple viendrait d’obtenir un accord de la part de l’office des brevets américains pour un nouvel écran 3D auto stéréoscopique. Le constructeur semble ne pas vouloir louper le virage de la 3D qui s’annonce notamment en termes de visionnage sans lunettes. Par le passé, la firme avait déjà développé une technologie permettant d’afficher du contenu en relief. Une technologie qui s’inspire très largement du concept de la société française à l’origine, selon nous, des écrans auto stéréoscopiques : Alioscopy…

