Les terminaux BlackBerry du canadien RIM sont connus pour leur autonomie record. Système d’exploitation peu consommateur, partie matérielle également économe et facteur de forme offrant la possibilité de remplacer/jongler entre plusieurs unités de batterie.
Si les autres constructeurs sont conscients de l’enjeu que pose la course aux performances et de l’impact de cette dite course sur l’autonomie des appareils actuels, il n’en reste pas moins que peu de réelles innovations ont bousculé le marché jusqu’à présent.
Le canadien aurait donc décidé de faire un pas de plus dans cette voie en déposant un brevet sur une technologie dont on espérait pas entendre parler aussi tôt : la pile à combustible.
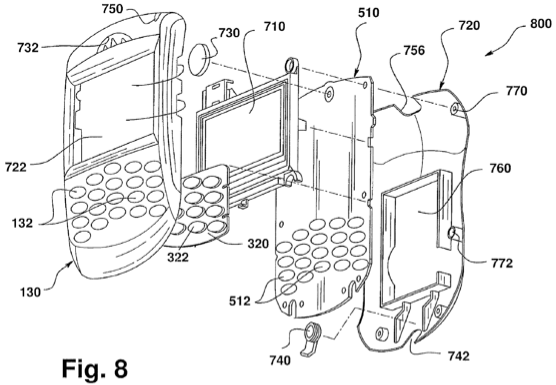
Encore au stade du dépôt de brevet (la demande ayant été déposée auprès de l’Office américain des brevets encore très récemment), la technologie d’intégration de la pile à combustible vue par RIM nous donne quelques informations sur le futur des terminaux de la marque :
La batterie en question serait ainsi placée entre le clavier (pour les terminaux munis de claviers donc) et le circuit imprimé de la carte mère, la chaleur dégagée se dissiperait donc par les interstices des touches et non plus à l’arrière du terminal, la cellule remplie de combustible serait quant à elle située sous la carte mère.
Le dépôt de brevet n’apporte guère plus d’informations, notamment en ce qui concerne la manière dont pourra se recharger la pile à combustible.
Patience donc, même si les brevets indiquent qu’une possible mise en application est envisageable, il ne faut toutefois pas s’attendre à croiser des terminaux ainsi équipés avant quelques années encore.

