Alors même que Steve Jobs semblait en refuser l'idée, Apple vient à nouveau de déposer une demande de brevet pour un stylet.
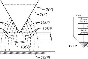
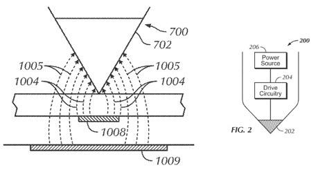
Ce n'est pas la première fois qu'Apple effectue des recherches pour un Stylet, mais celui-ci a la particularité d'être actif en utilisant une électrode à son extrémité.
Le but d'Apple est la commercialisation de son propre stylet, sans toutefois en créer un révolutionnaire, ni le proposer avec ses nouveaux iPhone ou iPad. Le but d'Apple est de commercialiser son propre stylet, sans toutefois en créer un révolutionnaire...
