PatentlyApple, qui a en fait sa spécialité, a découvert un nouveau brevet déposé par Apple et publié ce mardi 16 juillet. Baptisé « écran projeté espaces de travail partagés », il montre des iPhone équipés d’une sorte de projecteur capable de déporter l’écran sur un mur ou ailleurs, parfait pour les présentations.
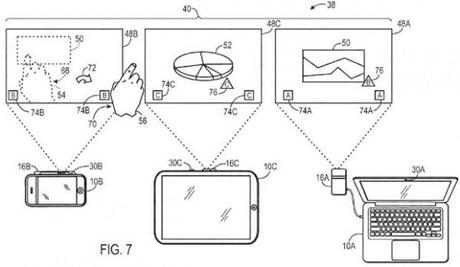
Mieux encore, l’écran ainsi projeté est capable de fonctionnalités « pseudo-tactiles ». Une caméra est en effet prévue pour détecter les ombres et les silhouettes portées afin de contrôler aisément les présentations sans avoir à toucher sur téléphone ou sa tablette directement.
Enfin, tout cela fonctionnerait entre plusieurs appareils, un iPhone, un iPad et un Mac (via un accessoire) par exemple, les « slides » passeraient alors d’iDevice en iDevice.
Bref, une technologie qui fait rêver et déjà aperçue dans de nombreux concepts. Mais nous ne devrions pas la voir arriver de si tôt. Les pico-projecteurs restent encore bien trop gros comparés à l’épaisseur d’un iPad ou d’un iPhone 5, sans oublier que tout cela consomme beaucoup d’énergie, il faudrait donc des batteries autrement plus performantes qu’actuellement.

