Apple est sans aucun doute l’ entreprise qui aura eu le plus d’impact sur cette dernière décennie en changeant fondamentalement notre vie quotidien. Que vous soyez « Apple Addict » ou non, il faut être de mauvaise pour ne pas admettre l’importance qu’a eu et qu’a encore la marque à la pomme. Difficile aujourd’hui de ne pas voir autour de soi un « iDevice » allant de l’iPhone à l’iPad en passant par les iPod. À chaque fois, et ce malgré les critiques et les controverses à leur sortie, Apple a toujours visé juste en bouleversant respectivement la téléphonie mobile, l’industrie du computer et pour finir la musique.
Ici Apple se penche de près à un sujet qui, si vous ne l’aurez pas remarqué, intéresse tout particulièrement Print my 3D puisqu’il traite d’un bouleversement tout aussi important. En effet Apple aurait déposé il y a peu un brevet pour une imprimante 3D. Une nouvelle qui montre l’intérêt grandissant du mastodonte…
Quel est l’objectif de l’imprimante 3D par Apple ?
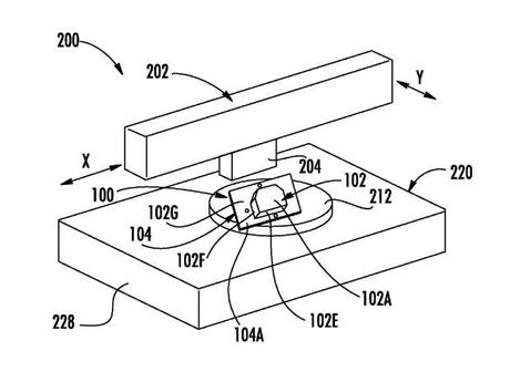
Un intérêt certain puisqu’Apple aurait déposé un brevet reprenant les traits d’une imprimante jet d’encre capable d’imprimer des objets 3D. L’année 2013 fût l’année où tous les regards se sont tournés sur ce marché prometteur. Ici l’imprimante serait particulièrement différente des imprimantes 3D sur le marché puisque cette dernière aurait la possibilité de projeter de l’encre conductrice, charge de particules métalliques ou polymères.
Selon Patently Apple, l’objectif de cette imprimante serait de produire des composants ou des circuits sur des surfaces ou objets 3D. Dans la même veine Apple aurait déposé un brevet sur un alliage métallique pouvant être en quelque sorte imprimé en 3D, et ce, dans l’optique de produire des coques ou autres matériaux utiles aux iDevices.

