
Alors que l’iPhone 8 est actuellement en développement, Apple continue à demander de nouveaux brevets afin d’apporter au futur smartphone le plus possible de nouveautés. Après avoir déposé un brevet permettant d’intégrer le Touch ID derrière l’écran de l’iPhone, la société vient tout juste d’en déposer un autre concernant cette fois-ci l’intégration de capteurs de luminosité.

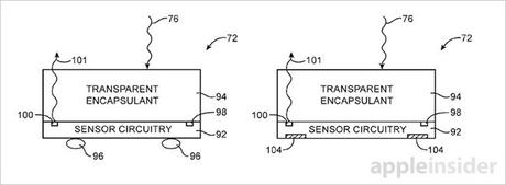
En effet, la firme à la pomme a l’intention de rendre les capteurs de luminosité de ses iPhone invisibles et souhaite les cacher sous l’écran. Pour le moment, on ne sait pas encore exactement les raisons qui l’ont poussé à imaginer cela. Cependant, l’idée devrait certainement être en rapport avec les rumeurs concernant l’écran bord à bord qui occuperait toute la façade avant de l’iPhone 8. Pour ce faire, Apple serait obligée de faire disparaître tous les éléments qui sont jusqu’ici placés sur le devant de l’appareil et elle aurait donc décidé de les mettre sous l’écran.
Enfin, pour rappel, l’iPhone 8 sera porteur d’innovations majeures et bénéficiera d’un tout nouveau design ainsi que des fonctionnalités plus riches. On peut déjà noter l’arrivée d’un écran OLED, d’un Touch ID intégré à l’écran, d’un processeur surpuissant et bien d’autres choses encore. De nouveaux éléments nous parviendront certainement au fil du temps.

