Apple s’intéresse de plus en plus à la réalité virtuelle et à la réalité augmentée. Dans un récent brevet rendu public par l’USPTO, la marque à la pomme a détaillé un système de réalité augmentée destiné à l’iPhone, l’iPad et d’éventuelles lunettes AR.
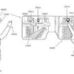
Le brevet en question présente plusieurs croquis contenant des détails spécifiques sur cette future fonctionnalité basée sur la réalité augmentée. Un schéma montre le fonctionnement sur l’iPhone, et un autre donne un aperçu de la fonctionnalité sur l’iPad. Un autre dessin présente cette application à réalité augmentée sur un casque ou des lunettes AR. Un produit que la marque à la pomme ne propose pas encore dans son catalogue.

Qu’en est-il de cette fonctionnalité de réalité augmentée ? Elle ferait apparaître des informations en réalité augmentée sur les images captées par la caméra de l’iPhone, de l’iPad ou de l’accessoire AR.
