Les Animojis sont apparus avec l'iPhone X et ils vont sûrement connaître des évolutions puisqu'Apple aimerait ajouter des effets sonores !
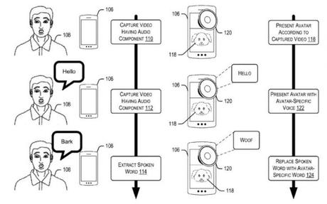
Apple a déposé un brevet et il réfléchit à ajouter des effets de voix selon les expressions du visage et les Animojis. L'iPhone analyserait donc les expressions faciales et la voix de l'utilisateur et ferait des ajustements selon les cas prédéfinis. En utilisant l'Animoji du chien et en disant " aboyer ", un fichier audio se déclancherait avec un aboiement de chien juste au moment où l'utilisateur ouvre la bouche.
Comme toujours avec les brevets, rien ne précise qu'Apple pourrait concrétiser ce brevet...peut-être avec iOS 13...
