LG, la marque sud-coréenne a déposé un brevet assez audacieux...une montre connectée qui serait dotée d'un capteur photo placé sur le bracelet !

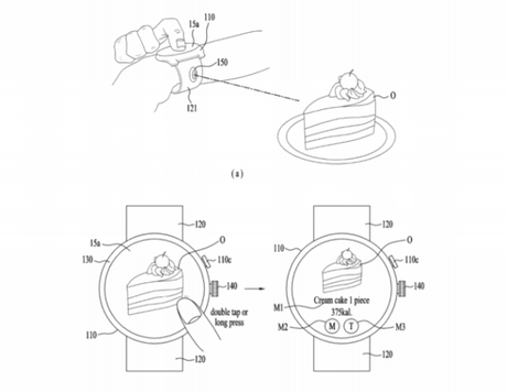
Le brevet a été déposé auprès de l'USTPO (United States Trademark and Patent Office), qui est le Bureau américain des brevets et des marques. Le brevet exposé montre une smartwatch qui est équipée d'un capteur photo au niveau du bracelet.

On y découvre un module photo qui est capable de se clipser sur le bracelet comme un petit compartiment à mettre ou à enlever.
Et les usages pourraient être très variés et très intéressants !
Le capteur pourrait scanner une part de gâteau et l'identifier et même vous donner le nombre exact de calories.
Il pourrait aussi scanner le code barre d'un produit et la montre indiquera le marketplace qui propose le meilleur prix.
En tout cas, ça reste prometteur ! Je vous rappelle que ce n'est qu'un brevet et que cette technologie, si elle sort, n'est pas pour tout de suite 😉 .
