Les Macbook ont beau être de petits bijoux de technologie, ils ne sont pas exempt de défauts. À commencer par leurs claviers ! Oui, l’écriture est fluide, les sensations sont bonnes, le parcours des touches est rapide et agréable… Mais son bruit !
Dans n’importe quel open space, ou dans n’importe quelle salle de classe, vous entendrez toujours quelqu’un râler si vous avez un tant soit peu la main lourde. Et si l’ordinateur coûte la bagatelle de 1000 € minimum, nombreux sont ses utilisateurs qui constatent des touches bloquées ou au fonctionnement anormal. Et ce, malgré le grand soin apporté à l’appareil.

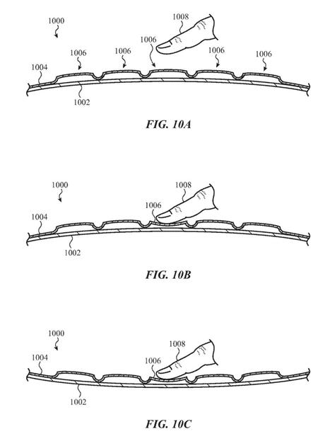
Ces problèmes ne sont visiblement pas tombés dans l’oreille d’un sourd. Déposé l’été dernier par Apple et publié la semaine dernière par l’US Patent and Trademark Office, un brevet pointe la création d’un clavier composé d’une plaque en verre surmontée de touches en relief. La plaque de verre, tactile, détecterait les pressions effectuées sur les touches.
Pour l’instant, nous n’avons aucune précision sur le fonctionnement de ce clavier en verre. Mais rien n’exclut un retour haptique, utilisé depuis quelques années sur les produits Apple. Dans tous les cas, un brevet reste un brevet : le prochain Macbook n’a que peu de chances de disposer d’un clavier tout en verre. Mais l’espoir fait vivre, et l’arrivée d’une telle technologie serait révolutionnaire.

Bons plans High-Tech 


Retrouvez World Is Small sur iPhone & iPad : Téléchargez notre app gratuite ! 


