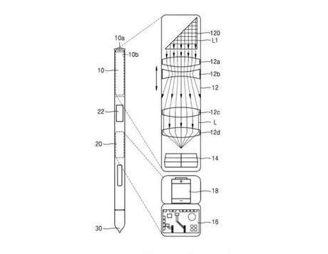
Face à Apple, Samsung doit user et abuser d’originalité. Avec ce brevet repéré par Patently Mobile, la marque sud-coréenne compte bien respecter cet adage. Le groupe a visiblement pensé à un stylet S-Pen côté d’une caméra. À la manière d’un James Bond donc, vous pourriez prendre des photos et / ou vidéo via le petit appareil et son zoom optique, puis transférer vos images vers un smartphone ou une tablette connectée en Bluetooth.

Le S-Pen, qui jusqu’ici vous permet de : noter tout ce qui vous passe par la tête sur votre téléphone, tel un scribe ; d’enclencher l’appareil photo de votre téléphone Samsung en appuyant sur son bouton ; contrôler vos présentations et vidéos à distance… Et dans les prochains mois, il va sans doute vous permettre de photographier les gens à leur insu. Car oui, ne nous mentons pas, une telle fonctionnalité ravira les plus espions d’entre nous.
Ce S-Pen, dont le brevet a été déposé en 2017, pourrait bien être l’une des technologies du futur Galaxy Note 10. On attend donc avec impatience le Galaxy Unpacked, événement Samsung tenu à Los Angeles le 20 février prochain, lors duquel le géant asiatique dévoilera son nouveau Galaxy S10, mais aussi probablement ses Galaxy Buds et sa montre Galaxy Sport.
Bons plans High-Tech 


Retrouvez World Is Small sur iPhone & iPad : Téléchargez notre app gratuite ! 


