Tous les constructeurs sont dans la course aux smartphones pliables! Mais on n'a rien vu ni entendu du côté d'Apple. Jusqu'à maintenant !
Même si Apple n'a pour le moment rien laissé fuiter, on sait que le constructeur songe quand même à un smartphone pliable...
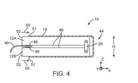
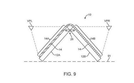
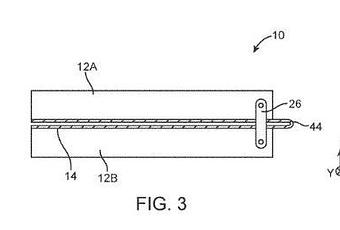
Un brevet a été déposé et on peut voir comment ce smartphone se pliera : d 'après les images, il se replierait sur un angle de 180 degrés et vers l'intérieur.
Il faut préciser que ce brevet a été déposé en 2011 !
On peut penser qu'Apple, et les autres constructeurs, se sont heurtés aux contraintes techniques... l'écran, l'affichage, la consommation d'énergie, la taille des batteries. Ou alors Apple attend tout simplement de voir ce que va proposer la concurrence et faire en sorte de proposer mieux.


