La marque à la pomme dépose un nombre incalculable de brevets, concernant ses principaux produits tels que le Macbook, le Mac Pro, l' iPhone, les AirPods, etc. Mais aujourd'hui, c'est l' Apple Watch qui est dans le viseur des rumeurs puisque la marque à la pomme prévoirait pour elle et son nouveau modèle un modèle de sécurisation bien connu des Apple fans les plus anciens.
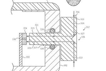
En effet, Apple a fait une demande de brevet en novembre 2018 concernant l'arrivée possible du Touch ID sur son Apple Watch. Le fabricant l'a déposé il y a donc bien longtemps, mais le brevet n'est apparu publiquement que récemment. Le brevet suggère donc que le Touch ID soit placé au niveau de la couronne digitale de l'Apple Watch, et non sur son écran.
L'utilisateur n'aurait qu'à placer directement son doigt sur la couronne pour que le système le reconnaisse puis se déverrouille. Jusqu'ici, l'Apple Watch ne se déverrouille que de deux manières différentes : entrer un code de 4 chiffres ou bien grâce à un appareil connexe, tels que son iPhone ou son Macbook. A voir donc si Apple va se lancer dans le Touch ID pour Apple Watch, alors même qu'il semble l'abandonner à peu près partout au profit du Face ID.
